欢迎您来到【墨禾新媒网络】自媒体账号交易平台
客服专家 - 何逸
  • 客服评分:
  • 工作经验:三年
  • 联系电话:15505759092
急售 优选 专项
资讯 娱乐
18年注册订阅号,发文娱乐资讯类,带留言粉丝属性优质,价格可小刀,详情请联系客服【墨禾新媒】

商品编号: 16299498471963182 复制

订阅号
公众号类型
已开通
是否开通留言
151.7W+
粉丝数量
女粉60%
男女粉丝比例
1.5
粉丝单价
2018
注册时间
商品金额:
2275500.00
郑重承诺:账号数据透明,描述不符全额退款
账号信息
账号数据
交易流程
常见问题
优选推荐

账号信息

Account information

公众号类型
订阅号
是否开通留言
已开通
粉丝数量
151.7W+
男女粉丝比例
女粉60%
粉丝单价
1.5
注册时间
2018
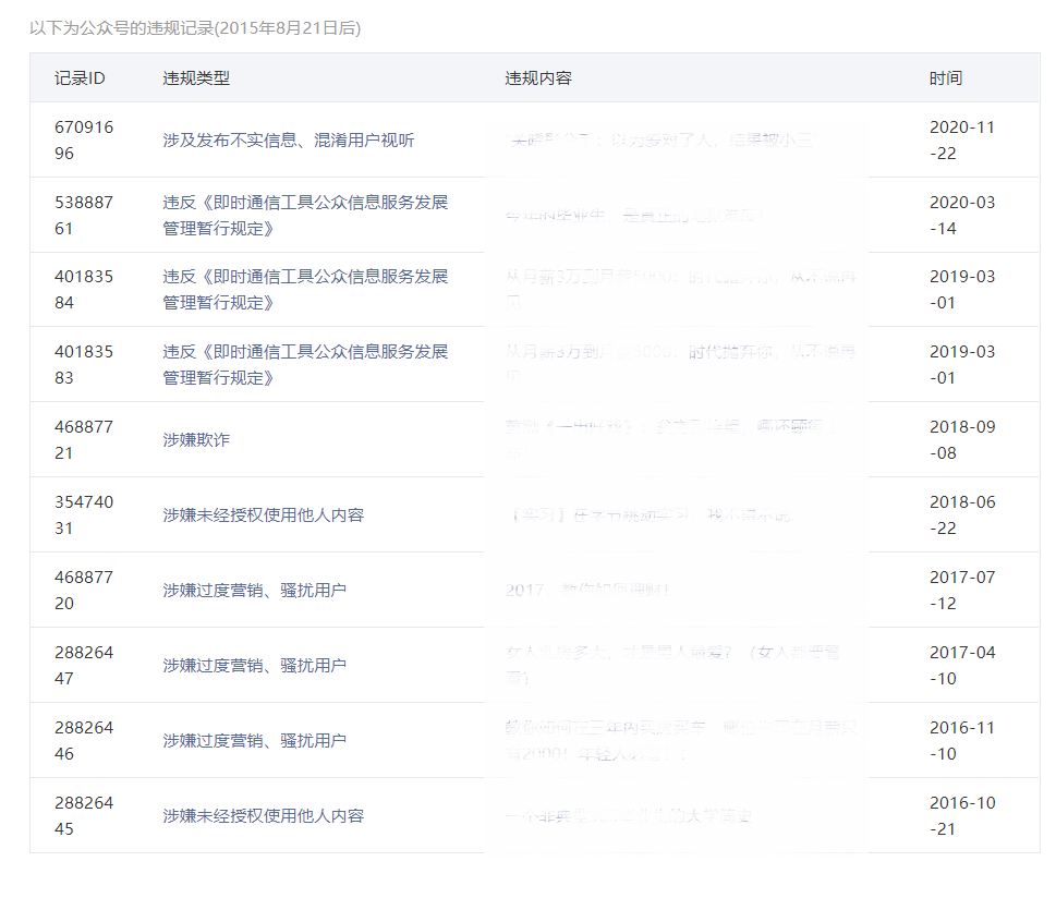
违规处罚
违规(10) 处罚(0)
是否认证
未认证
注册主体
企业主体
头条阅读
1.9W+
PV值
1.2%
粉丝地区分布
全国

账号数据

Account data

  • 粉丝总数
  • 用户分析
  • 新增人数
  • 群发图文
  • 粉丝比例
  • 城市分布
  • 违规记录
  • 流量主
  • 常读数据
  • 日报

账号流程

Account procedure

常见问题

查看更多
墨禾新媒如何收取服务费?
为了向我们的用户提供安全优质的服务,在交易完成后,墨禾新媒将分别收取买卖双方成交金额的4%,低于200元按200元收取。我们所收的费用将用于向用户提供最安全的线上交易环境,保证7×24小时的专业客户服务,让用户享受更愉快的交易体验,安全、高效、专业、贴心的服务质量。同时,如果部分收费标准有变动,我们将在首页公告,敬请关注! 注:活动期间,您可咨询平台在线商务了解活动详情。
你们平台为什么不能看公众号的名字和ID呀?
因为我们是一个第三方担保平台,账号资源就是我们生存之本,如果我们给买家看公众号名字或ID,买家也可以私下去联系卖家,那也就没有我们平台存在的必要了。同时账号信息也是卖家的隐私,买家这样经常私下去联系卖家,也会对卖家造成不好的影响。
我想快点出售我的公众号,有什么办法吗?
亲,我们墨禾新媒有首页“推荐位”和“优选推荐”专区。加入此区有两种方式:1、您可与我们平台签署专售协议,30天内只在我们平台交易,签署后您的公众号即可在“优选推荐”专区展示;2、您在我们平台成交超过5个公众号后,即可享受 首页“推荐位”和“优选推荐”专区展示。在此区域展示后,用户将优先看到您的公众号信息,出售几率会更快。3、如长时间没有卖掉,您可联系客服,降低商品售价,用户可在网站内搜索降价幅度,查看到您的账号信息,增加出售几率。

优选推荐

微信公众号交易官网
微信公众号推广
查看更多
公众号 资讯
出售43.7W粉丝订阅号 广点通粉丝来源 需要联系客服【墨禾新媒】
订阅号
公众号类型
已开通
是否开通留言
437000
粉丝数量
女粉70%
男女粉丝比例
公众号 资讯
21年注册订阅号 时政资讯类发文 男粉比例高 阅读优秀【墨禾新媒】
订阅号
公众号类型
未开通
是否开通留言
100180
粉丝数量
男粉84%
男女粉丝比例
公众号 资讯
出售55.3万粉订阅号,男粉占比高,偏时政类发文,需要联系客服【墨禾新媒】
订阅号
公众号类型
已开通
是否开通留言
553569
粉丝数量
男粉66%
男女粉丝比例